Иллюстрации к патенту
927893
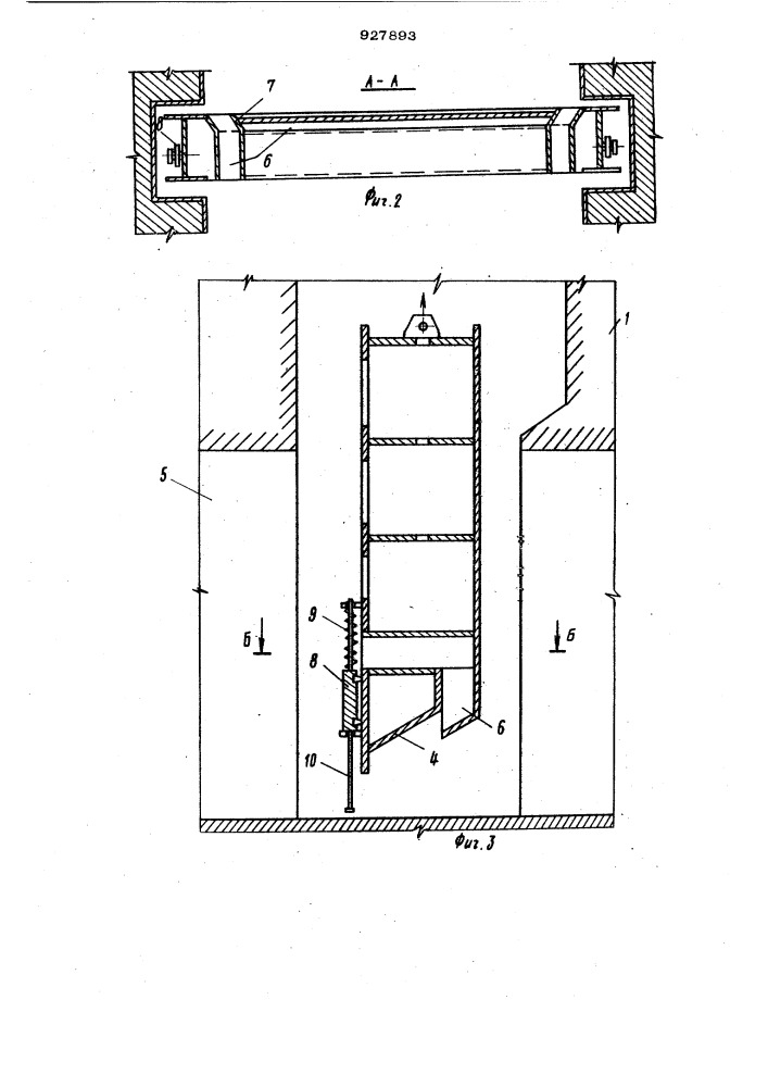
Устройство для перекрытия водовода гидротехнического сооружения