Иллюстрации к патенту
101343
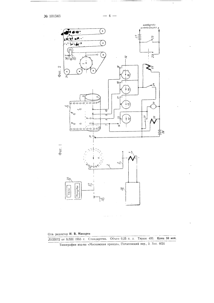
Устройство для автоматической подачи сигналов по заданному распорядку дня