PatentDB.ru — поиск по патентным документам

Иллюстрации к патенту 996186

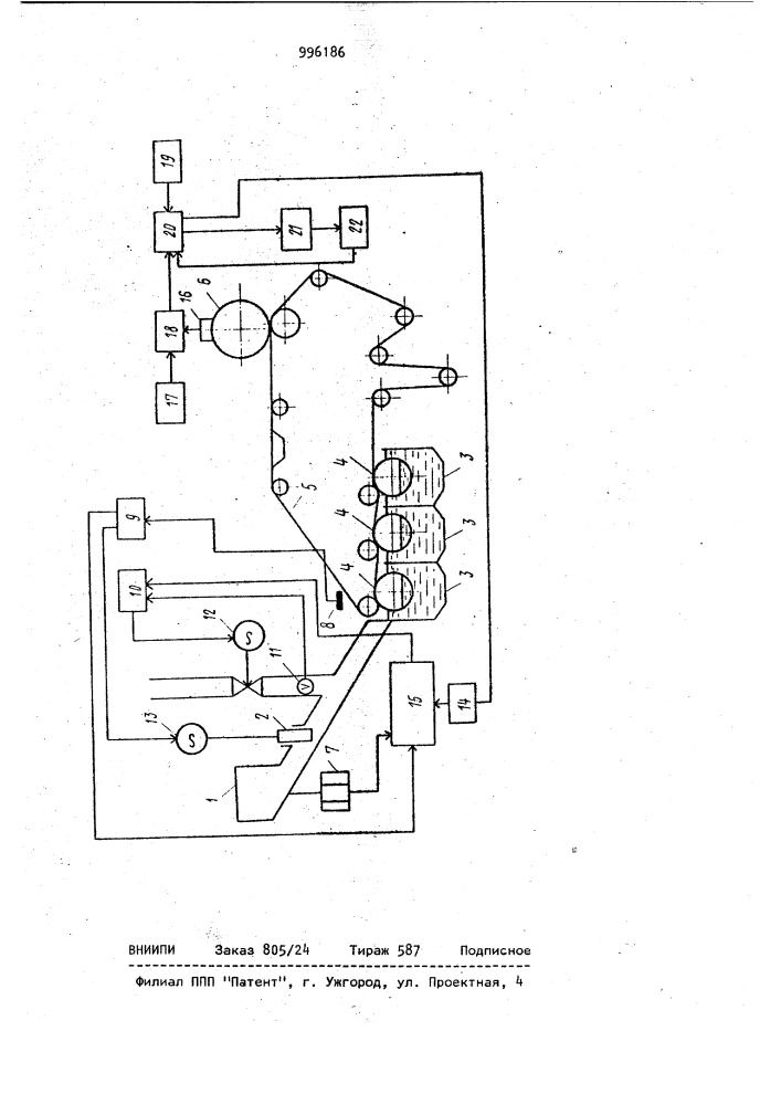
Устройство для управления работой многоцилиндровой асбестоцементной формовочной машиной

Устройство для управления работой многоцилиндровой асбестоцементной формовочной машиной (патент 996186)