PatentDB.ru — поиск по патентным документам

Иллюстрации к патенту 1214218

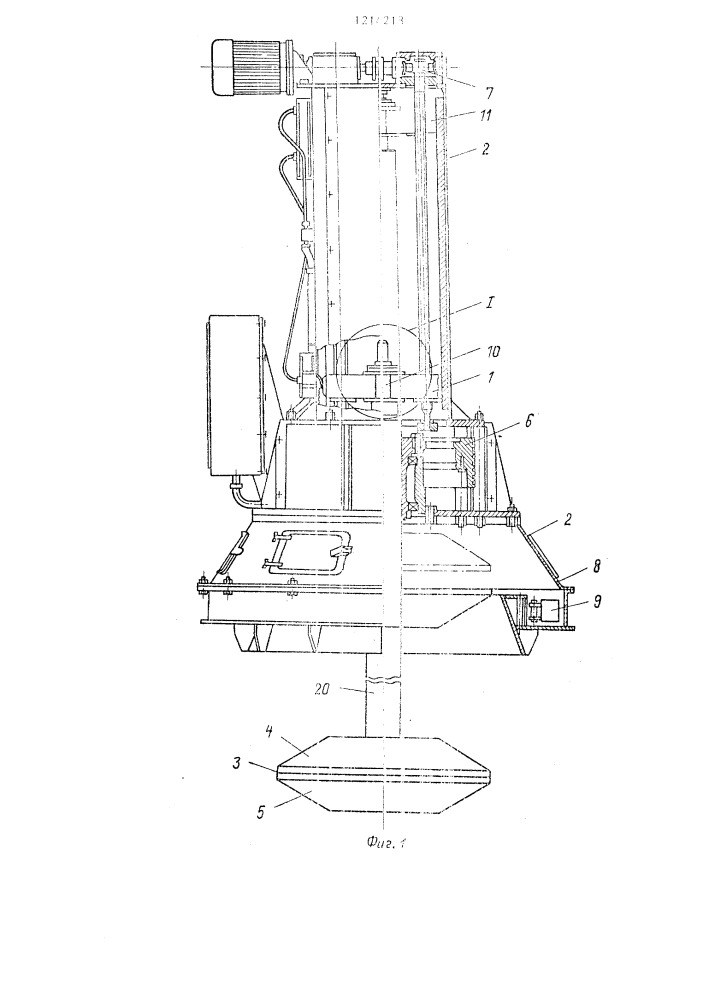
Механизм для смыкания и размыкания тарелей к центрифуге с выгрузкой через кольцевую щель

Механизм для смыкания и размыкания тарелей к центрифуге с выгрузкой через кольцевую щель (патент 1214218)