PatentDB.ru — поиск по патентным документам

Иллюстрации к патенту 1216089

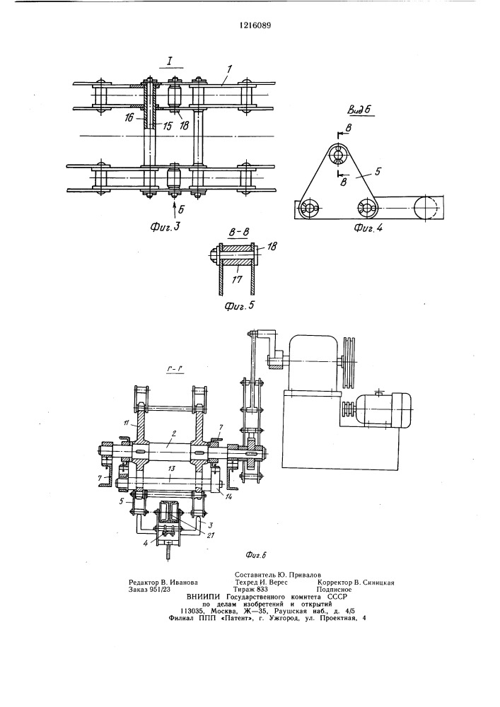
Привод для подвесного конвейера с элементами зацепления на канатном тяговом органе

Привод для подвесного конвейера с элементами зацепления на канатном тяговом органе (патент 1216089)