PatentDB.ru — поиск по патентным документам

Иллюстрации к патенту 1246235

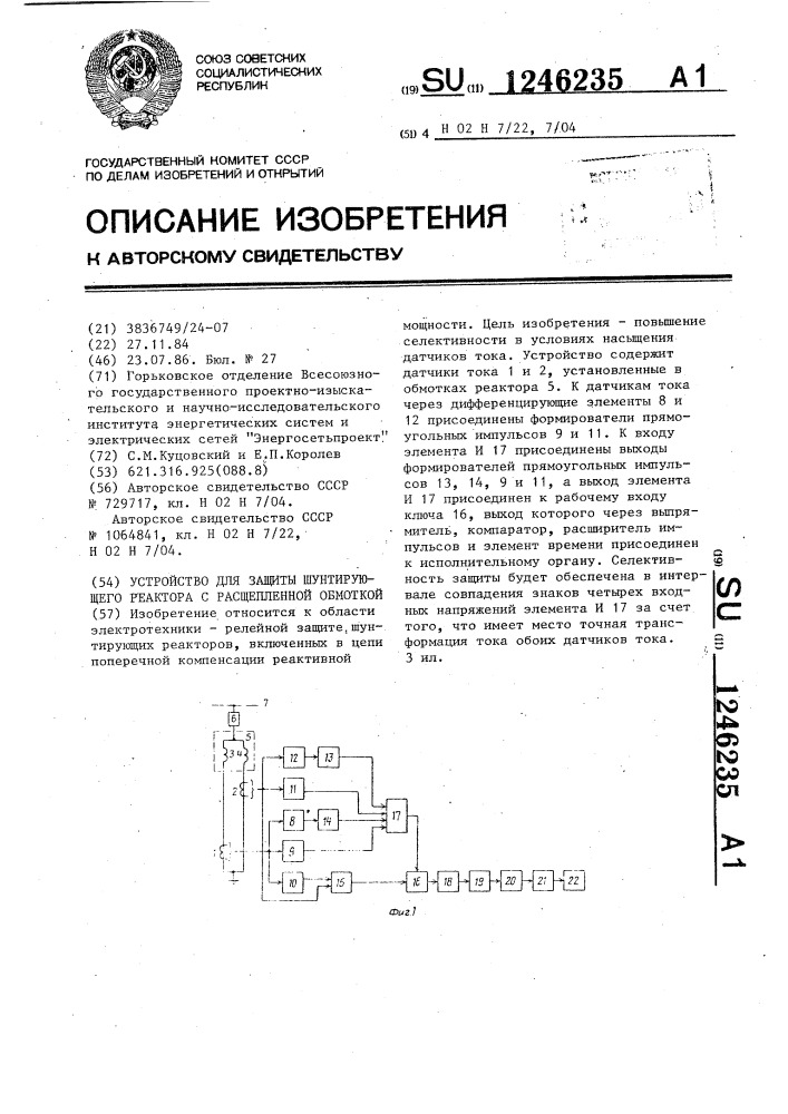
Устройство для защиты шунтирующего реактора с расщепленной обмоткой

Устройство для защиты шунтирующего реактора с расщепленной обмоткой (патент 1246235)