Иллюстрации к патенту
1338786
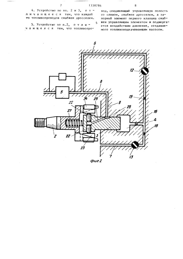
Устройство для подачи топлива в двигатель внутреннего сгорания