Иллюстрации к патенту
1349895
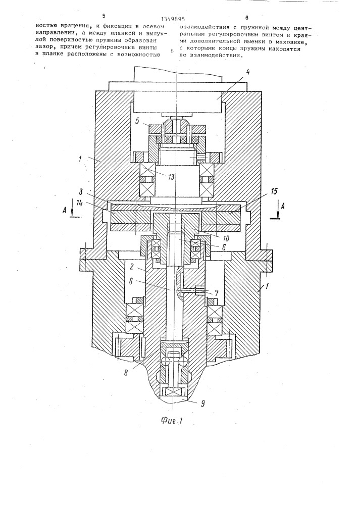
Устройство для зажима инструмента