Иллюстрации к патенту
1433866
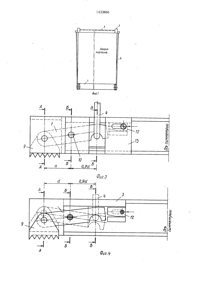
Контейнер для транспортировки кирпича