Иллюстрации к патенту
1715668
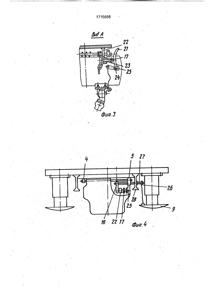
Переходная площадка пассажирского вагона