Иллюстрации к патенту
1735685
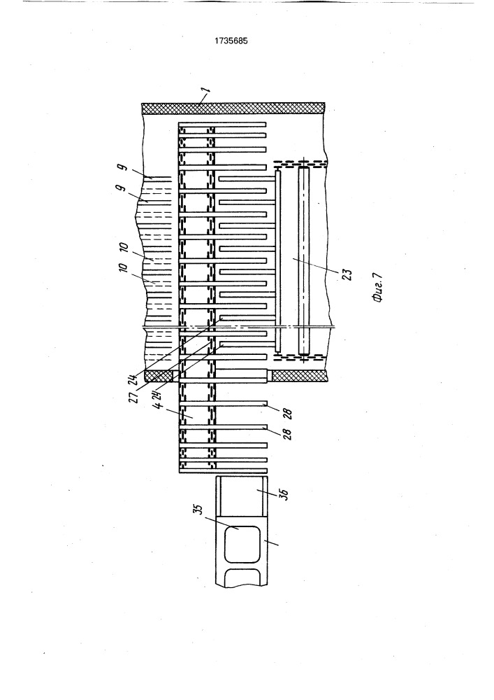
Скороморозильный аппарат