PatentDB.ru — поиск по патентным документам

Иллюстрации к патенту 22441

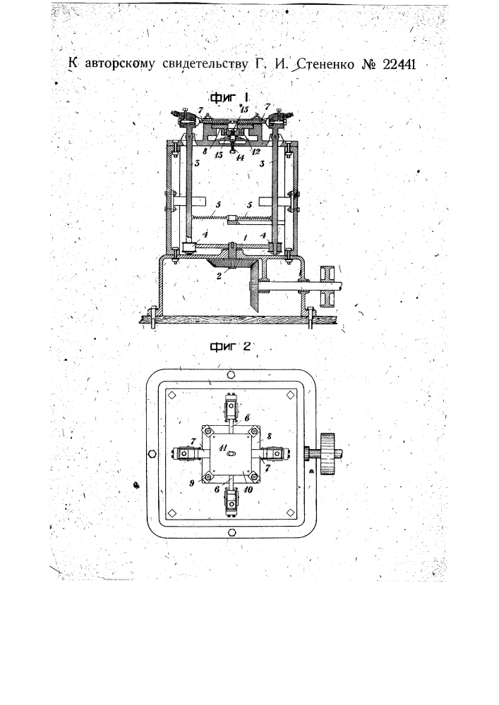
Станок для закантовки замков

Станок для закантовки замков (патент 22441)