Иллюстрации к патенту
1796800
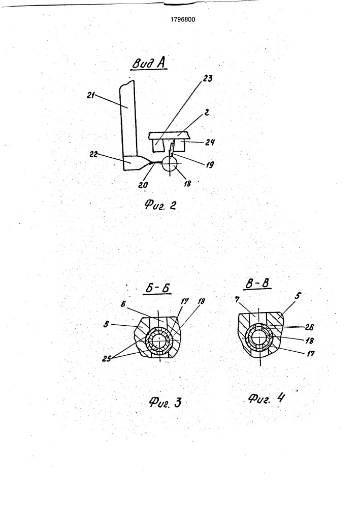
Пневматический демпфер