Иллюстрации к патенту
1812157
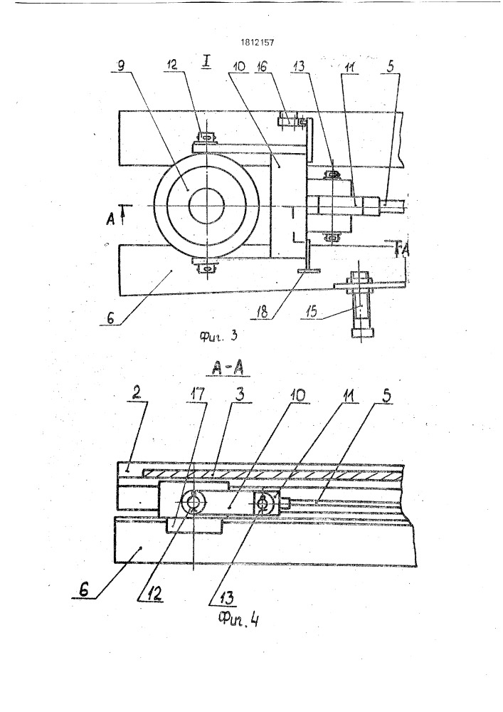
Устройство для шаговой подачи деталей