PatentDB.ru — поиск по патентным документам

Иллюстрации к патенту 1834816

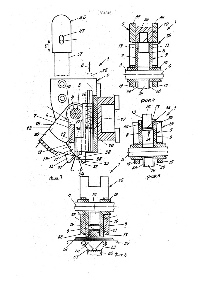
Сшивающий аппарат для соединения многолистовых типографских изделий

Сшивающий аппарат для соединения многолистовых типографских изделий (патент 1834816)