Иллюстрации к патенту
1834934
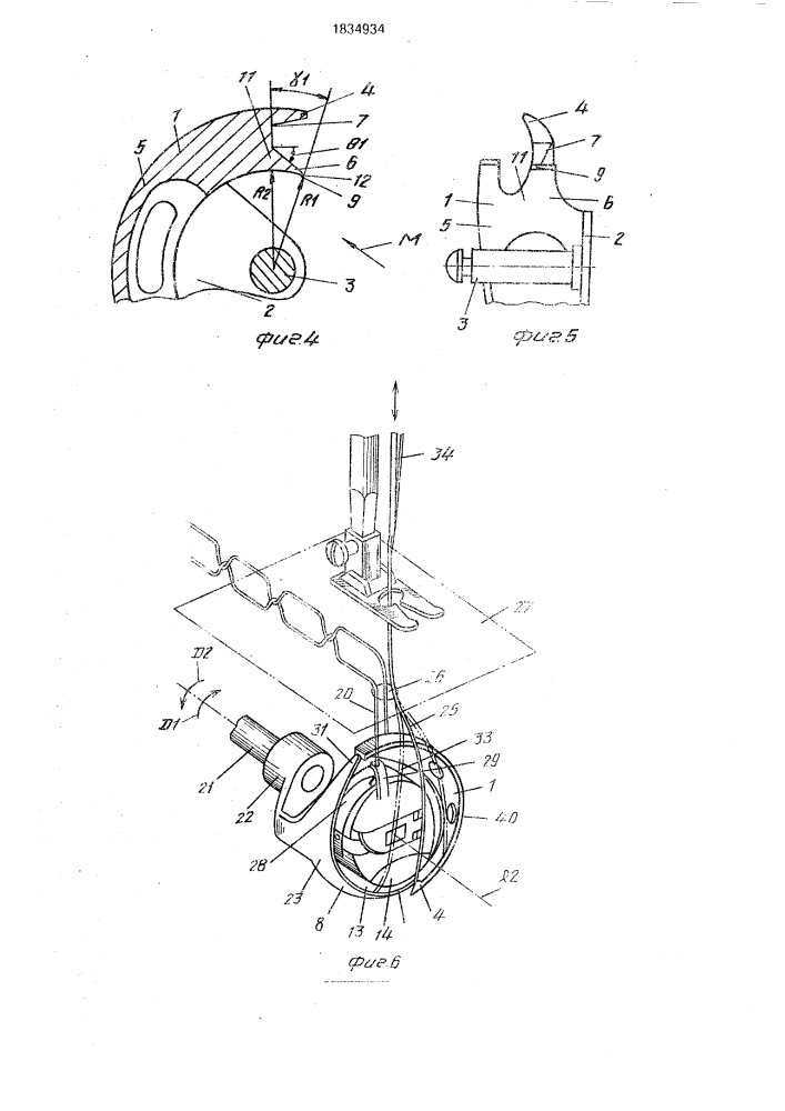
Качающийся челнок швейной машины