PatentDB.ru — поиск по патентным документам

Иллюстрации к патенту 1838122

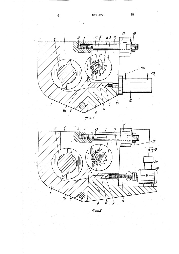
Способ загрузки экструдера для обработки каучука или термопластических полимеров и устройство для его осуществления

Способ загрузки экструдера для обработки каучука или термопластических полимеров и устройство для его осуществления (патент 1838122)