PatentDB.ru — поиск по патентным документам

Иллюстрации к патенту 2254681

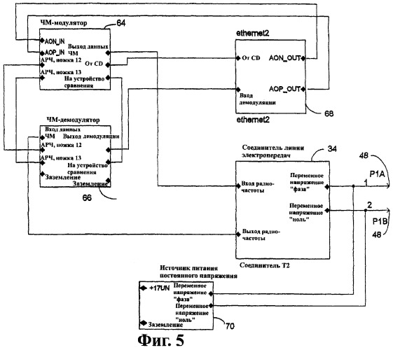
Устройство для высокочастотной передачи сетевых данных по линиям

Устройство для высокочастотной передачи сетевых данных по линиям (патент 2254681)