PatentDB.ru — поиск по патентным документам

Иллюстрации к патенту 2263051

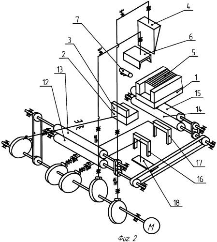
Устройство для упаковки предметов прямоугольной формы

Устройство для упаковки предметов прямоугольной формы (патент 2263051)