PatentDB.ru — поиск по патентным документам

Иллюстрации к патенту 212816

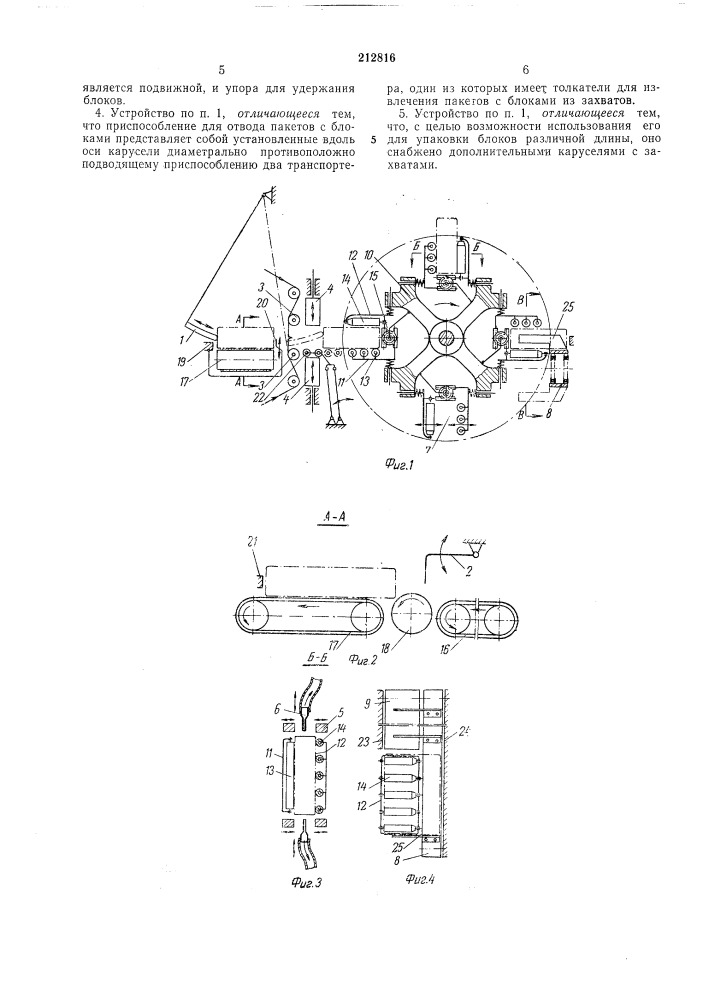
Устройство для упаковки рыбных и тому подобных блоков в термопластическую пленку

Устройство для упаковки рыбных и тому подобных блоков в термопластическую пленку (патент 212816)