PatentDB.ru — поиск по патентным документам

Иллюстрации к патенту 2278419

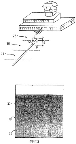
Идентификация осевой линии в системе управления установкой на место стоянки, оборудованное телескопическим трапом

Идентификация осевой линии в системе управления установкой на место стоянки, оборудованное телескопическим трапом (патент 2278419)