Иллюстрации к патенту
2288860
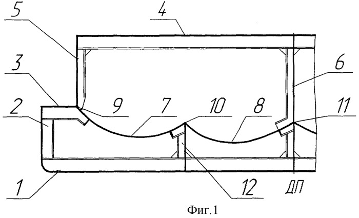
Корпус судна (варианты)