PatentDB.ru — поиск по патентным документам

Иллюстрации к патенту 2307049

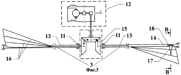
Устройство для азимутальной ориентации и стабилизации груза на внешней подвеске летательного аппарата

Устройство для азимутальной ориентации и стабилизации груза на внешней подвеске летательного аппарата (патент 2307049)