PatentDB.ru — поиск по патентным документам

Иллюстрации к патенту 2316090

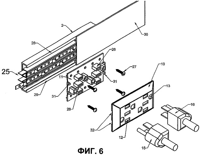
Низковольтная электрораспределительная схема

Низковольтная электрораспределительная схема (патент 2316090)