PatentDB.ru — поиск по патентным документам

Иллюстрации к патенту 2325122

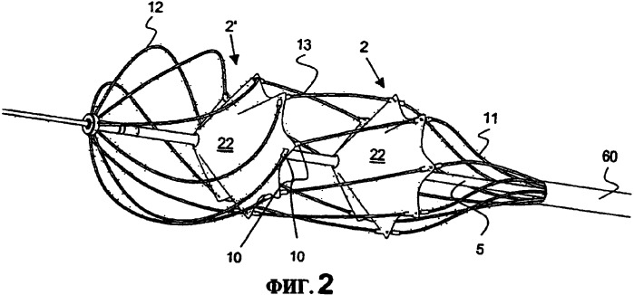
Имплант для закупоривания кровеносного сосуда

Имплант для закупоривания кровеносного сосуда (патент 2325122)