PatentDB.ru — поиск по патентным документам

Иллюстрации к патенту 2338094

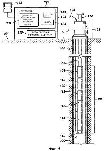
Скважинная система, способ проведения испытаний в скважинном инструменте и оборудование для тестирования и регулирования скважинного инструмента

Скважинная система, способ проведения испытаний в скважинном инструменте и оборудование для тестирования и регулирования скважинного инструмента (патент 2338094)