PatentDB.ru — поиск по патентным документам

Иллюстрации к патенту 2339925

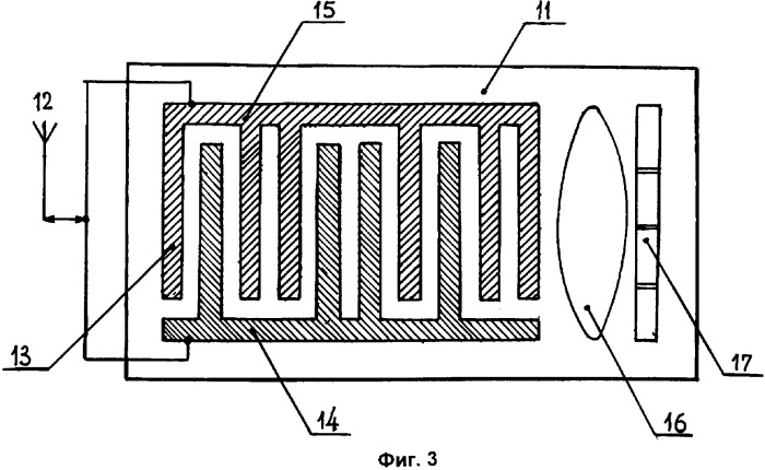
Устройство для дистанционного измерения давления

Устройство для дистанционного измерения давления (патент 2339925)