PatentDB.ru — поиск по патентным документам

Иллюстрации к патенту 2350434

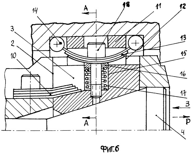
Зажимной патрон (варианты)

Зажимной патрон (варианты) (патент 2350434)