PatentDB.ru — поиск по патентным документам

Иллюстрации к патенту 2357853

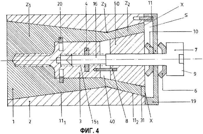
Соединение ручки для ручной утвари или ручного инструмента

Соединение ручки для ручной утвари или ручного инструмента (патент 2357853)