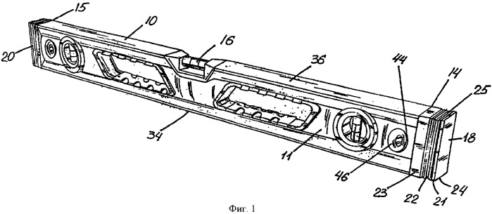
Иллюстрации к патенту
2367906
Торцевые наконечники для уровней, амортизирующие ударное воздействие