Иллюстрации к патенту
250797
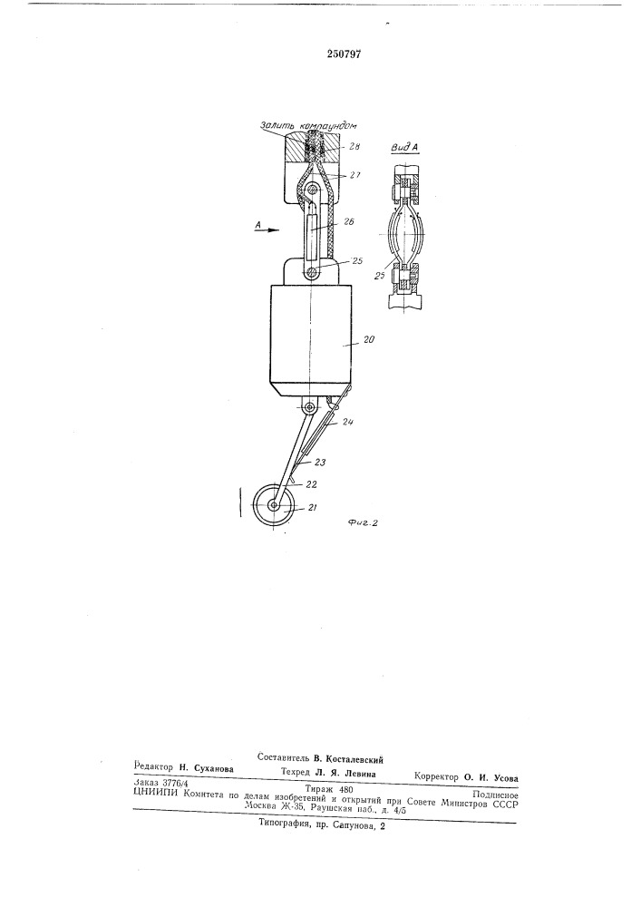
Установка для исследования сил сопротивления движению колоннб1 труб в стволе скважины