Иллюстрации к патенту
253644
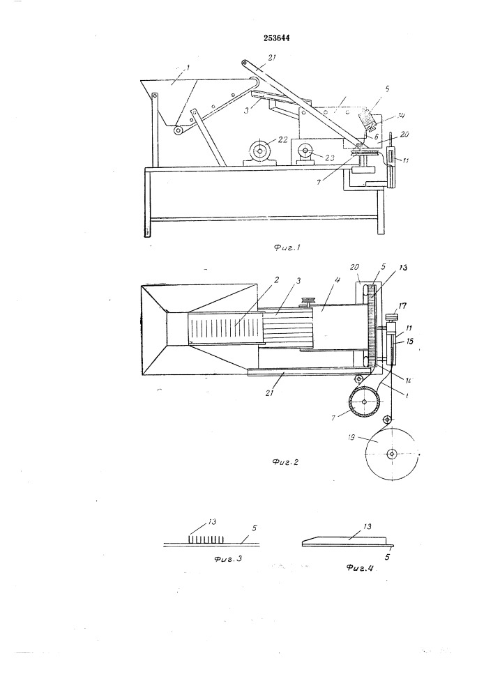
Устройство для насадки заколок для волосна карту