PatentDB.ru — поиск по патентным документам

Иллюстрации к патенту 2388874

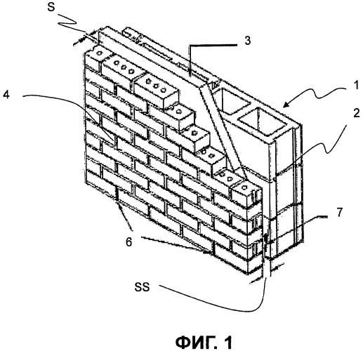
Система, содержащая негорючие усиленные легкие панели из цементирующих материалов и металлическую раму, предназначенная для противопожарной стены и других огнестойких сборочных узлов

Система, содержащая негорючие усиленные легкие панели из цементирующих материалов и металлическую раму, предназначенная для противопожарной стены и других огнестойких сборочных узлов (патент 2388874)