PatentDB.ru — поиск по патентным документам

Иллюстрации к патенту 2395044

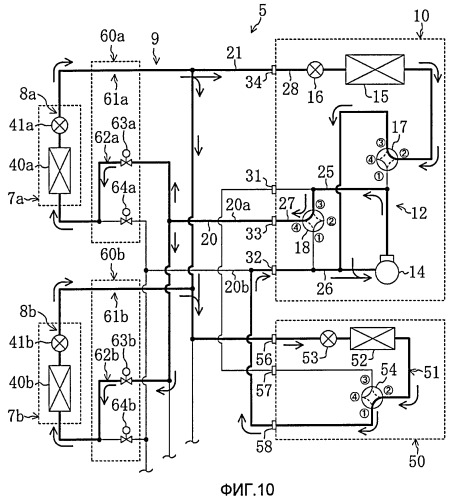
Блок источника тепла системы охлаждения и система охлаждения

Блок источника тепла системы охлаждения и система охлаждения (патент 2395044)