PatentDB.ru — поиск по патентным документам

Иллюстрации к патенту 2399750

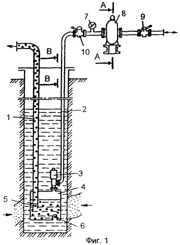
Способ вакуумной добычи нефти

Способ вакуумной добычи нефти (патент 2399750)