PatentDB.ru — поиск по патентным документам

Иллюстрации к патенту 2407129

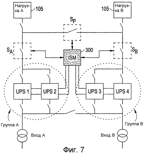
Устройство для синхронизации источников бесперебойного питания

Устройство для синхронизации источников бесперебойного питания (патент 2407129)