PatentDB.ru — поиск по патентным документам

Иллюстрации к патенту 2412357

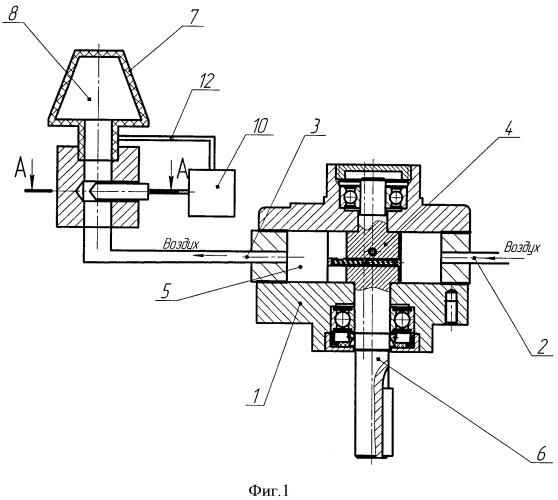
Способ регулирования частоты вращения пневматического ротационного двигателя и устройство для его осуществления

Способ регулирования частоты вращения пневматического ротационного двигателя и устройство для его осуществления (патент 2412357)