Иллюстрации к патенту
2419045
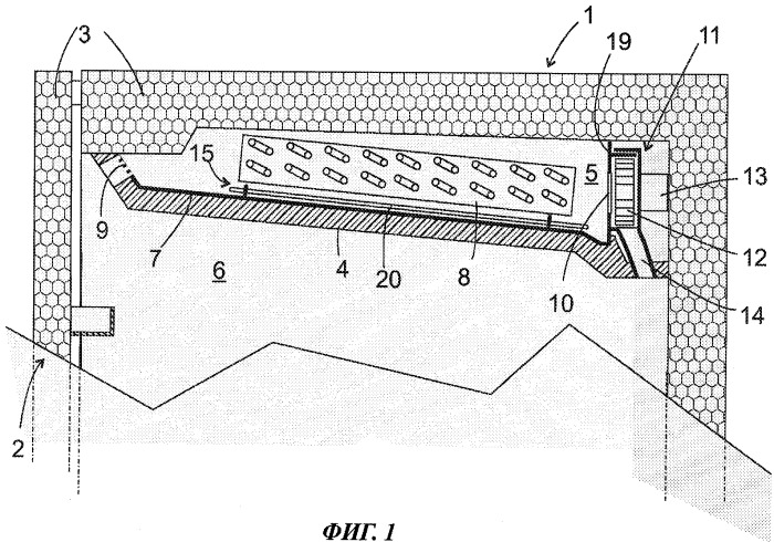
Холодильный аппарат с размораживателем