Иллюстрации к патенту
269440
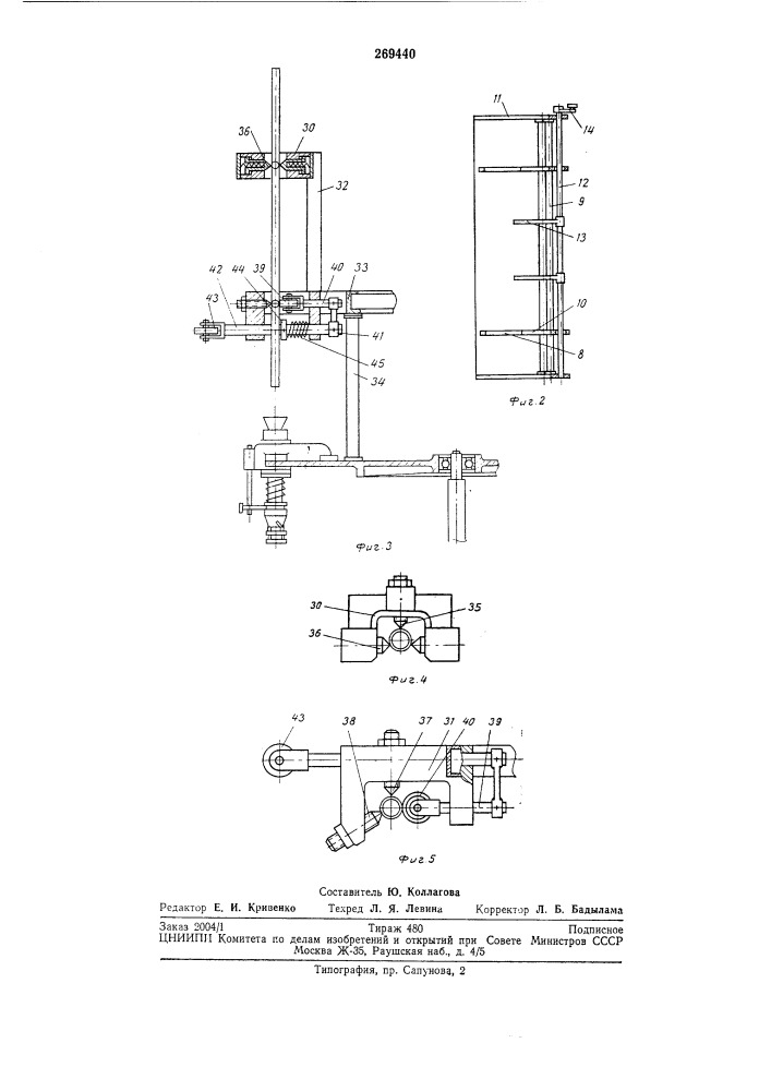
Устройство для загрузки дротом патронов стеклоформующей машины