PatentDB.ru — поиск по патентным документам

Иллюстрации к патенту 2434369

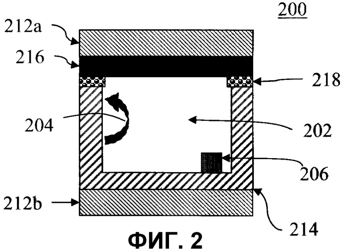
Структура бетатрона и способ производства структуры бетатрона

Структура бетатрона и способ производства структуры бетатрона (патент 2434369)