PatentDB.ru — поиск по патентным документам

Иллюстрации к патенту 2440015

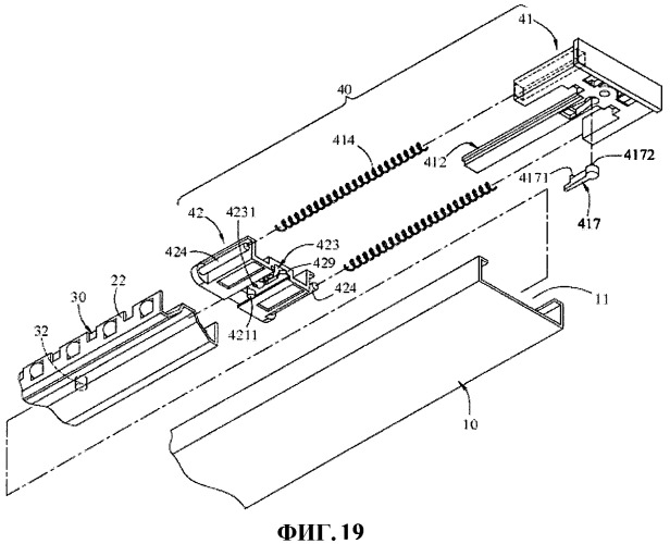
Направляющая в сборе

Направляющая в сборе (патент 2440015)