PatentDB.ru — поиск по патентным документам

Иллюстрации к патенту 2454791

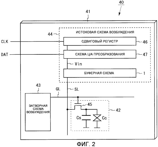
Схема возбуждения емкостной нагрузки и устройство отображения, включающее в себя ее

Схема возбуждения емкостной нагрузки и устройство отображения, включающее в себя ее (патент 2454791)