PatentDB.ru — поиск по патентным документам

Иллюстрации к патенту 2457955

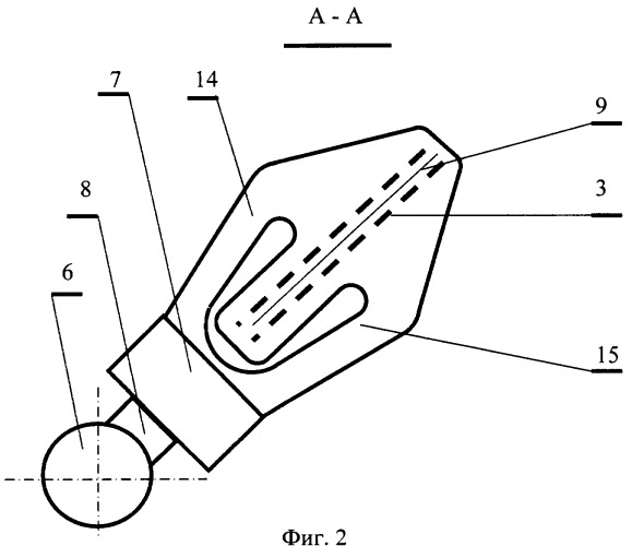
Устройство для удаления печатной краски с поверхности бумаги

Устройство для удаления печатной краски с поверхности бумаги (патент 2457955)