Иллюстрации к патенту
2461034
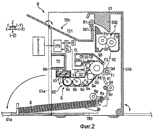
Контейнер для хранения проявителя и устройство формирования изображения