PatentDB.ru — поиск по патентным документам

Иллюстрации к патенту 2467277

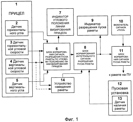
Устройство для запуска ракеты с подвижного носителя

Устройство для запуска ракеты с подвижного носителя (патент 2467277)