PatentDB.ru — поиск по патентным документам

Иллюстрации к патенту 287626

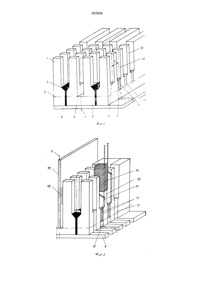
Способ изготовления mho годорожечного блока, состоящего из записывающих и воспроизводящих

Способ изготовления mho годорожечного блока, состоящего из записывающих и воспроизводящих (патент 287626)