PatentDB.ru — поиск по патентным документам

Иллюстрации к патенту 2474738

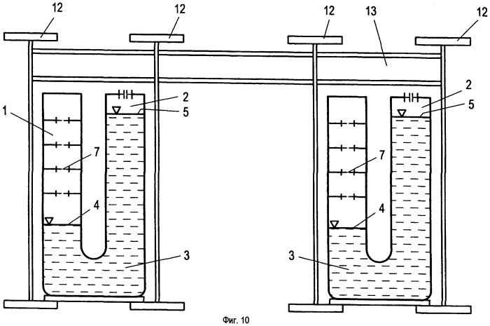
Гидравлический демпфер для уменьшения вертикальных и/или горизонтальных колебаний конструкции сооружения или механизма

Гидравлический демпфер для уменьшения вертикальных и/или горизонтальных колебаний конструкции сооружения или механизма (патент 2474738)