PatentDB.ru — поиск по патентным документам

Иллюстрации к патенту 2475185

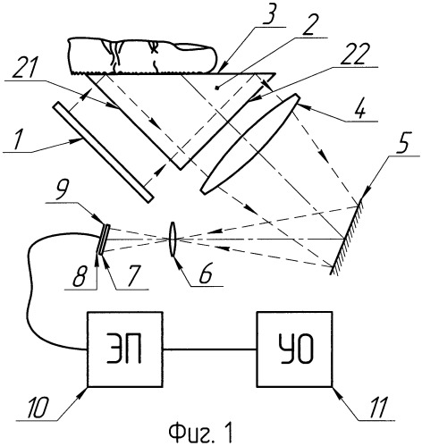
Система регистрации папиллярных узоров

Система регистрации папиллярных узоров (патент 2475185)