PatentDB.ru — поиск по патентным документам

Иллюстрации к патенту 290873

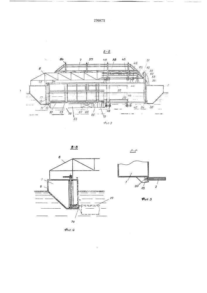
Устройство для размолевки пучков бревен

Устройство для размолевки пучков бревен (патент 290873)