PatentDB.ru — поиск по патентным документам

Иллюстрации к патенту 2484879

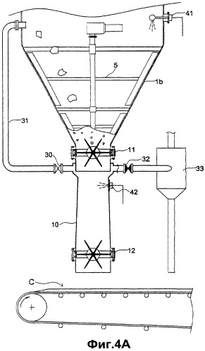
Устройство для извлечения осадков, полученных в результате дисковой фильтрации под давлением, и соответствующий способ извлечения

Устройство для извлечения осадков, полученных в результате дисковой фильтрации под давлением, и соответствующий способ извлечения (патент 2484879)